什么是工单
工单的使用场景不再局限于客服内部,可以一键将工单高效流转到其他部门。企业内其他业务部门也能通过发起工单来进行跨部门的协作沟通。

自定义工单流转
从报单到结束的过程. 主流程包含:报单、审批、执行、验收、完成等步骤. 同时还支持:转派、回执、评价、取消等分支流程.
工单的设计
设计设备或场所的工单时,可自定义要检查的项目, 可添加:单选、多选、数值、视频、照片、时间、拍照、表格、多列、下拉框等,满足企业多样化需求。

工单关联表单
巡检过程中,填写的表单中有不合格项目时,你可能希望系统能自动提交一个维修工单,从而实现闭环管理。*该功能需要定制API。

工单报表
工单报表有“场所工单汇总”、“人员工单汇总”、“工单详情汇总”、“按编号查询工单”报表

高级功能
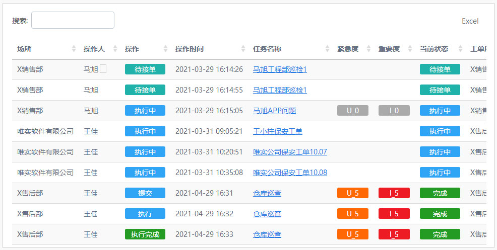
报单监控中心
选择您关注的场所,报单监控中心将实时监控该场所中所有未完成的工单及完成进度。

工单与其他系统的对接
当你需要将工单系统同其他系统对接时,你可以通过定制API来实现。








